首页 游戏资源分享 手游技术交流 雷霆传奇H5 自动重起游戏 自动重起 服务器 代码
0赞
赞赏
手机版
扫码打开手机版
把文字装进口袋

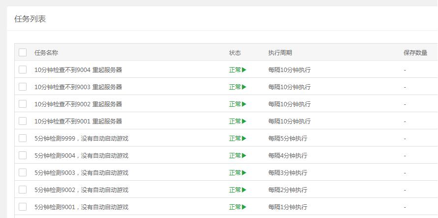
雷霆传奇H5 自动重起游戏 自动重起 服务器 代码

牧民 2026-1-24 10:09:44
1670982463174705.jpg

重起服务器

购买主题 本主题需向作者支付 100 金币 才能浏览

使用道具 举报

您需要登录后才可以回帖 立即登录
返回顶部